Kettenstützvorrichtung zur Verhinderung des Ablösens der Kette
Das vorliegende Gerät offenbart a Kette Stützvorrichtung zur Verhinderung des Ablösens der Kette, die eine auf einem festen Träger installierte Bodenplatte umfasst, wobei die Bodenplatte mit einem unteren Nylon-Führungsstreifen ausgestattet ist und die Bodenplatte außerdem mit einer Schutzhülle abgedeckt ist. Die Schutzabdeckung bedeckt die Oberseite und zwei Seiten der Bodenplatte, und am vorderen und hinteren Ende der Schutzabdeckung befinden sich Öffnungen für den Kettendurchgang. Die Oberseite der Schutzhülle ist nach unten mit einem oberen Nylon-Führungsstreifen verbunden. Der obere Nylon-Führungsstreifen und der untere Nylon-Führungsstreifen korrespondieren nach oben und unten, wobei leere Schlitze dafür reserviert sind Kettengetriebe. Die Seite der Schutzhülle erstreckt sich horizontal und bildet eine feste Seitenplatte, die mit der Bodenplatte verbunden ist. Die Anti-Ablösungs-Kettenstützvorrichtung des vorliegenden Geräts kann verhindern, dass die Kette während des Kettenübertragungsvorgangs auf und ab springt, verhindert, dass die Kette von der Seite herunterfällt, reduziert Geräusche und Verschleiß während des Kettenübertragungsvorgangs und sorgt dafür, dass die Ausrüstung funktioniert sicherer und stabiler.

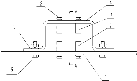
1. Eine Kettenstützvorrichtung zur Verhinderung des Ablösens der Kette, dadurch gekennzeichnet, dass sie eine Bodenplatte (1) umfasst, die auf einem festen Träger installiert ist, wobei die Bodenplatte (1) mit einem unteren Nylon-Führungsstreifen (2) ausgestattet ist, und der Boden Die Platte (1) ist außerdem mit einer Schutzabdeckung (4) abgedeckt, die die Oberseite und zwei Seiten der Bodenplatte (1) abdeckt, und die Schutzabdeckung (4) ist vorne mit Öffnungen für den Kettendurchgang versehen und hintere Enden. Die Oberseite der Schutzabdeckung (4) ist nach unten mit einem oberen Nylon-Führungsstreifen (3) verbunden, und der obere Nylon-Führungsstreifen (3) und der untere Nylon-Führungsstreifen (2) korrespondieren nach oben und unten mit Leerzeichen Schlitze (5) zur Kettenübertragung. Die Seite der Schutzabdeckung (4) erstreckt sich horizontal und bildet eine feste Seitenplatte (6), die mit der Bodenplatte (1) verbunden ist.
2. Kettenstützvorrichtung zur Verhinderung des Ablösens der Kette nach Anspruch 1, dadurch gekennzeichnet, dass sowohl die oberen als auch die unteren Nylon-Führungsstangen verlängert sind und die Schutzabdeckung vertikal nach unten mit zwei parallelen oberen Nylon-Führungsstangen verbunden ist, während die Bodenplatte dies ist vertikal nach oben mit zwei parallelen unteren Nylon-Führungsstangen verbunden, die an beiden Enden der Kette eine Kettenstützstruktur bilden.
3. Kettenstützvorrichtung zur Verhinderung des Ablösens der Kette nach Anspruch 1, dadurch gekennzeichnet, dass die vorderen und hinteren Enden des oberen Nylon-Führungsstreifens mit bogenförmigen Fasen (7) ausgestattet sind, und die vorderen und hinteren Enden des unteren Nylon-Führungsstreifens Führungsleiste sind zusätzlich mit bogenförmigen Fasen (7) ausgestattet. Die bogenförmigen Fasen an den Enden des oberen Nylon-Führungsstreifens und des unteren Nylon-Führungsstreifens bilden eine trompetenförmige Öffnungsform mit einer leeren Nut am Ende.
4. Kettenstützvorrichtung zur Verhinderung des Ablösens der Kette nach Anspruch 1, dadurch gekennzeichnet, dass die Oberseite des oberen Nylon-Führungsstreifens und die Schutzabdeckung durch Schrauben (8) befestigt sind und die Schrauben gleichmäßig mit drei Schrauben verteilt sind.
5. Kettenstützvorrichtung zur Verhinderung des Ablösens der Kette nach Anspruch 1, dadurch gekennzeichnet, dass die Unterseite des unteren Nylon-Führungsstreifens und die Anti-Basisplatte durch Schrauben (8) befestigt sind, wobei drei gleichmäßig verteilte Schrauben vorhanden sind.
6. Kettenstützvorrichtung zur Verhinderung eines Kettenablösens nach Anspruch 1, dadurch gekennzeichnet, dass die feste Seitenplatte (6) und die Bodenplatte (1) durch Bolzen (9) befestigt sind.
Technischen Bereich
[0001] Die vorliegende Erfindung betrifft eine Kettenübertragungsstruktur in mechanischen Vorrichtungen, insbesondere eine Kettenstützvorrichtung zur Verhinderung eines Kettenablösens.
Hintergrundtechnologie
In der Hebevorrichtung von mechanische ParkausrüstungWenn die Spannweite der Kette zu groß ist, wird normalerweise eine Stützkette in der Mitte der langen Kette hinzugefügt, um ein Wackeln der Kette zu verhindern. Um dies zu erreichen, wird im Allgemeinen eine Nylonunterlage auf einer Basis angebracht. Allerdings weisen allgemeine Schleppkettenvorrichtungen Nachteile auf. Da die Kette zu lang ist, springt sie nicht nur auf und ab und erzeugt während des Betriebs Geräusche, sondern löst sich auch aus der Führungsnut des Nylonblocks der Tragkette, was zu Sicherheitsproblemen führt.
Zusammenfassung des Geräts
Die vorliegende Vorrichtung zielt darauf ab, die Nachteile herkömmlicher Schleppkettenvorrichtungen zu überwinden, die Ketten nicht sicher fixieren und leicht herausspringen können, und bietet eine sichere und stabile Kettenstützvorrichtung gegen Ablösung.
Um den oben genannten Zweck zu erreichen, wendet die vorliegende Erfindung die folgende technische Lösung an:
Die vorliegende Vorrichtung bezieht sich auf eine Kettenstützvorrichtung zur Verhinderung des Ablösens der Kette, die eine auf einem festen Träger installierte Bodenplatte umfasst, wobei die Bodenplatte mit einem unteren Nylon-Führungsstreifen ausgestattet ist und die Bodenplatte außerdem mit einer Schutzhülle abgedeckt ist. Die Schutzabdeckung deckt die Oberseite und zwei Seiten der Bodenplatte ab, und am vorderen und hinteren Ende der Schutzabdeckung befinden sich Öffnungen für den Kettendurchgang. Die Oberseite der Schutzhülle ist nach unten mit einem oberen Nylon-Führungsstreifen verbunden. Der obere Nylon-Führungsstreifen und der untere Nylon-Führungsstreifen korrespondieren nach oben und unten, wobei leere Schlitze für die Kettenübertragung reserviert sind. Die Seite der Schutzhülle erstreckt sich horizontal und bildet eine feste Seitenplatte, die mit der Bodenplatte verbunden ist.
[0005] Im Vergleich zu gewöhnlichen Kettenstützvorrichtungen, die nur eine Kettenstützfunktion haben, hat die vorliegende Vorrichtung die folgenden wesentlichen Auswirkungen:
1. Wir verwenden zwei Lagen Nylon-Führungsstreifen, eine oben und die andere unten, mit einem Spalt in der Mitte, um die Kette festzuklemmen und zu verhindern, dass sie auf und ab springt, was zu Sicherheitsrisiken führt.
0006. Oben wurde eine Schutzabdeckung angebracht, die die Oberseite und zwei Seiten schützt und verhindert, dass die Kette seitlich herausspringt. Wenn eine Schutzabdeckung vorhanden ist, fällt die Kette nicht ab, was zu Sicherheitsproblemen für die Ausrüstung führen würde.
0007. Die Führungsschiene besteht aus Nylon-Führungsschienen, die die im Getriebe erzeugten Geräusche wirksam reduzieren und den Reibungsverlust an der Kette verringern können.
Als bevorzugte Option sind sowohl die obere als auch die untere Nylon-Führungsstange verlängert. Die Schutzabdeckung ist vertikal nach unten mit zwei parallelen oberen Nylon-Führungsstangen verbunden, und die Bodenplatte ist vertikal nach oben mit zwei parallelen unteren Nylon-Führungsstangen verbunden, wodurch an beiden Enden der Kette eine Kettenstützstruktur gebildet wird. Die Kugel der Kette treibt die Kette an, indem sie durch den Spalt zwischen der oberen und unteren Führungsschiene aus Nylon verläuft. Die Struktur der Stützkette mit zwei Enden verringert die Kontaktfläche zwischen der Kette und dem Nylon-Führungsstreifen, reduziert Reibungsverluste, reduziert Geräusche und macht die Kettenübertragung reibungsloser, während die Funktion der Stützkette erhalten bleibt.
Als bevorzugte Option sind die vorderen und hinteren Enden des oberen Nylon-Führungsstreifens mit bogenförmigen Fasen ausgestattet, während die vorderen und hinteren Enden des unteren Nylon-Führungsstreifens ebenfalls mit bogenförmigen Fasen ausgestattet sind. Die bogenförmigen Fasen an den Enden des oberen Nylon-Führungsstreifens und des unteren Nylon-Führungsstreifens bilden eine trompetenförmige Öffnungsform mit einer leeren Nut am Ende. Die trompetenförmige Öffnungsform ist bei der Erstinstallation von Vorteil, da sie das Einführen der Kette in den leeren Schlitz erleichtert und gleichzeitig scharfen Endverschleiß an den Kettenkugeln vermeidet.
Als bevorzugte Option wird die Oberseite des oberen Nylon-Führungsstreifens mit Schrauben zwischen der Schutzabdeckung befestigt, und die Schrauben sind gleichmäßig mit drei Schrauben verteilt.
[0011] Als bevorzugte Option wird die Unterseite des unteren Nylon-Führungsstreifens mit Schrauben zwischen der Anti-Basisplatte befestigt, und die Schrauben sind gleichmäßig mit drei Schrauben verteilt.
Als bevorzugte Option werden die feste Seitenplatte und die Bodenplatte durch Bolzen befestigt.
Die vorliegende Vorrichtung hat die folgenden vorteilhaften Wirkungen: Die Anti-Ablösungs-Kettenstützvorrichtung kann verhindern, dass die Kette während des Kettenübertragungsvorgangs auf und ab springt, verhindert, dass die Kette von der Seite herunterfällt, und reduziert Geräusche und Verschleiß während der Kette Übertragungsprozess und sorgen für einen sichereren und stabileren Betrieb der Ausrüstung.
Illustrierte Figuren


[0014] Abbildung 1 ist ein schematisches Strukturdiagramm der vorliegenden Erfindung.
[0015] Abbildung 2 ist eine Querschnittsansicht von AA in Abbildung 1.
[0016] Abbildung 3 ist ein Referenzdiagramm des Nutzungsstatus der vorliegenden Erfindung.
[0017] In der Abbildung: Bodenplatte 1, unterer Nylon-Führungsstreifen 2, oberer Nylon-Führungsstreifen 3, Schutzabdeckung 4, leerer Schlitz 5, feste Seitenplatte 6, gebogene Fase 7, Schraube 8, Bolzen 9, Halterung 10, Kette 11, hinterer Balken 12o
Spezifische Implementierungsmethode
Die vorliegende Vorrichtung wird in Verbindung mit den beigefügten Zeichnungen und spezifischen Ausführungsformen weiter beschrieben.
In den in den Abbildungen 0019 und 1 gezeigten Ausführungsformen umfasst eine Kettenstützvorrichtung zur Verhinderung einer Kettenablösung eine Grundplatte 2, die auf einem festen Träger installiert ist. Der feste Träger ist eine feste Komponente am unteren Ende der Übertragungskette, z. B. der hintere Träger oder die Säule mechanischer Geräte. Die Bodenplatte 1 ist mit einem unteren Nylon-Führungsstreifen 1 ausgestattet, und auf der Bodenplatte 2 ist außerdem eine Schutzabdeckung 4 abgedeckt. Die Schutzabdeckung 1 bedeckt die Oberseite und zwei Seiten der Bodenplatte 4, und es gibt Öffnungen für die Kette zum Durchführen am vorderen und hinteren Ende der Schutzabdeckung 1. Die Oberseite der Schutzabdeckung 4 ist nach unten mit einem oberen Nylon-Führungsstreifen 4 verbunden, und der obere Nylon-Führungsstreifen 3 und der untere Nylon-Führungsstreifen 3 korrespondieren nach oben und unten , so dass ein freier Steckplatz 2 für die Kettenübertragung verbleibt. Die oberen und unteren Nylon-Führungsstangen sind beide länglich, wobei zwei parallele obere Nylon-Führungsstangen vertikal nach unten an der Schutzabdeckung verbunden sind und zwei parallele untere Nylon-Führungsstangen vertikal nach oben an der Bodenplatte verbunden sind und an beiden Enden die Kettenstützstruktur bilden die Kette. Die Kettenrolle treibt die Kette an, indem sie durch die leeren Schlitze der oberen und unteren Nylon-Führungsschienen läuft.
Die Seite der Schutzabdeckung 0020 erstreckt sich horizontal und bildet eine feste Seitenplatte 4, die über Bolzen 6 fest mit der Bodenplatte 1 verbunden ist.
Die vorderen und hinteren Enden des oberen Nylon-Führungsstreifens sind mit bogenförmigen Fasen 0021 ausgestattet, und die vorderen und hinteren Enden des unteren Nylon-Führungsstreifens sind ebenfalls mit bogenförmigen Fasen 7 ausgestattet. Die bogenförmigen Fasen An den Enden des oberen Nylon-Führungsstreifens und des unteren Nylon-Führungsstreifens bilden sie eine trompetenförmige Öffnungsform mit einer leeren Nut am Ende.
[0022] Die Oberseite des oberen Nylon-Führungsstreifens ist mit Schrauben 8 zwischen der Schutzabdeckung befestigt, und die Schrauben sind mit drei gleichmäßig verteilt. untere
Die Unterseite des Nylon-Führungsstreifens und die Anti-Boden-Platte werden mit Schrauben 8 befestigt, und die Schrauben sind mit drei gleichmäßig verteilt.
Die Anti-Ablösungs-Kettenstützvorrichtung kann auf verschiedene mechanische Geräte der Kettenübertragung angewendet werden und ist nicht auf mechanische Parkgeräte beschränkt. Bei langen Ketten können mehrere Kettenstützvorrichtungen in der Mitte angeordnet werden, wie in Abbildung 0023 dargestellt. Zwei Kettenstützvorrichtungen werden nebeneinander angeordnet und über die Halterung 3 am hinteren Balken 12 der Hebevorrichtung installiert Für den Übertragungsvorgang sind eine Kette 10, zwei Halterungen 11 und vier Kettenstützvorrichtungen vorgesehen. Wenn die Kette zur Übertragung geneigt wird, sind die leeren Schlitze der Kettenstützvorrichtung im gleichen Winkel geneigt.
GIDI CHAIN LIMITED liefern viel Rollenkette, Förderungskette, Blattkette, geschweißte Kette, geschmiedete Kette, Kette der Palmölmühle, Hebekette,Bergwerks- und Metallurgiekette, usw. Insgesamt über 3000-Sorten. und 90% der Ketten werden in die ganze Welt exportiert, die hauptsächlich nach Südostasien, Europa, Nordamerika und Südamerika exportieren. Ketten werden von den Kunden mit der ausgezeichneten Qualität begrüßt. Unser Unternehmen verfügt über mehr als 100-Sätze fortschrittlicher und professioneller Fertigungsanlagen. Ein perfektes und strenges QC-System wird in jedem Prozess implementiert, vom Materialeinkauf bis zur Verpackung der fertigen Produkte. Außerdem haben wir die ISO9001: 2015-Zertifizierung für das Qualitätsmanagementsystem bestanden.
Mehr Details : www.gidi-chain.com